快捷导航
查看: 458|回复: 0

[手机] 苹果20周年纪念版iPhone曝光:显示效果更亮

[复制链接]

该用户从未签到

10

主题

0

回帖

10

积分

新手上路

积分
10
发表于 2025-9-26 08:17:39 | 显示全部楼层 |阅读模式 来自 北京西城

马上注册,结交更多好友,享用更多功能,让你轻松玩转社区。

您需要 登录 才可以下载或查看,没有账号?立即注册

×
修改字体大小 15px
10px 30px

随着iPhone 17系列手机的发售,苹果后续的新机计划也逐渐曝光了。


有消息源指出,2027 年是 iPhone 问世 20 周年,就像当年 iPhone X 作为 10 周年特别机型一样,苹果也很可能会在这个重要的节点推出一款具有纪念意义的全新 iPhone。


苹果20周年纪念版iPhone曝光

苹果20周年纪念版iPhone曝光


此前有消息称,苹果计划在 Vision Air 上采用一种全新的显示技术,让屏幕更薄、更亮。


由此可以推测,这项技术有望在同一年首次登上 iPhone。


据悉,目前常见的手机屏幕由多层结构堆叠而成:显示面板、触控层、滤光层和盖板玻璃等。虽然这种设计能实现各种功能,但层数的增加不仅让屏幕更厚、成本更高,还会在一定程度上削弱光线穿透率,从而影响亮度和观感。


苹果20周年纪念版iPhone曝光

苹果20周年纪念版iPhone曝光


因此,将多种功能集成到更少的层级中,一直是显示技术领域探索的方向。而三星再其折叠屏手机上使用的一项名为 CoE 的技术,可能就是苹果下一步的目标。

参考线有资料,CoE(Color filter on encapsulation,封装上彩色滤光片)技术,就是把发光层和彩色滤光片直接整合到同一块基板上。这样一来,屏幕厚度可以进一步减少,光路也更短,从而显著提升亮度。


苹果20周年纪念版iPhone曝光

苹果20周年纪念版iPhone曝光


苹果计划在 2027 年将 CoE 技术应用于两款重磅产品。


第一款是Vision Air,作为 Vision Pro 的后续产品,它可能会拥有更亲民的定位和更轻巧的设计。


另一款则是 2027 年的全新iPhone,预计叫做“iPhone Pro”,是一款全新的、以「玻璃」为设计中心的 iPhone Pro 机型,但设计细节目前未知。


苹果20周年纪念版iPhone曝光

苹果20周年纪念版iPhone曝光


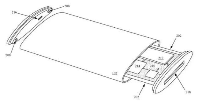
不过作为参考,苹果近日获得了一项名为"电子设备环绕式显示屏"的专利,最新获批版本最初于2019年申请,着重描述了如何在透明外壳内集成柔性显示屏,使图像显示可覆盖设备任意表面。


苹果20周年纪念版iPhone曝光

苹果20周年纪念版iPhone曝光


专利文件显示,传统iPhone/iPad设计导致侧边与背部空间利用率不足,而环绕式屏幕能最大化利用设备表面。技术核心涉及柔性显示模组的制造工艺,屏幕可随需求在设备框架不同位置移动定位。


虽然专利主要聚焦理论制造流程,但暗示了类似折叠屏设备所需的关键技术突破。


苹果20周年纪念版iPhone曝光

苹果20周年纪念版iPhone曝光


值得一提的是,乔布斯曾提到过自己理想中的 iPhone:是能够像一块「充满魔力的玻璃」的手机,没有其他多余的设计。


而这款全新的 iPhone Pro,似乎就有些符合乔布斯的这一定义,大家可以期待一下。


苹果20周年纪念版iPhone曝光

苹果20周年纪念版iPhone曝光


除了新机爆料,苹果目前已经停止对iOS 18.6.2的签名验证,这意味着已升级到iOS 26的iPhone用户无法再降级到iOS 18.6.2。


苹果20周年纪念版iPhone曝光

苹果20周年纪念版iPhone曝光


苹果并没有强迫用户安装iOS 26,可以选择继续使用iOS 18,但一旦设备升级到iOS 26,就没有回头路了。所以想升级系统的小伙伴一定要慎重考虑。

微信扫一扫,阅读更方便^_^

您需要登录后才可以回帖 登录 | 立即注册

本版积分规则

QQ|手机版预览|手机版|南楼邻友圈 ( 京ICP备2025124479号-1 ) 劰载中...|网站地图

GMT+8, 2026-5-19 16:01 , Processed in 0.250678 second(s), 28 queries , Gzip On, MemCached On.

快速回复 返回顶部 返回列表